名称:GF105油水分离机
概述
GF105R高速管式离心机的机身、转鼓等全部使用不锈钢制作。美观简洁,清洗方便。符合GMP的规范要求。GF105R管式高速离心机有一个高速旋转的细长转鼓、有一个进料口和两个出料口。轻、重料液的出口分溜比可用调节环来控制。在液-液分离的同时,也对悬浮液进行了澄清。悬浮液的固相沉积在筒壁上。
用途:
GF105R管式高速离心机分离因数高达15000,分离最小固相颗粒为0.5微米,适用于两种液体之间不同比重下的分离,如油-水分离以及动物血浆和血球蛋白分离等工艺过程的设备。

结构:
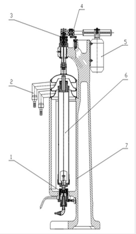
GF105R高速管式离心机(图1)主要有
1. 转鼓部分 6 ; 4. 压带轮部分 4 ; 7. 接液盘部分 2 。
2. 机架部分 7 ; 5. 滑动轴承组部分 1 ;
3. 机头部分 3 ; 6. 驱动体部分 5 ;
转鼓由四部分组成(见图5):
上盖(4)、调节环(6)、带空心轴的底盖(1)和管状的转鼓(3)。转鼓内沿轴向装有对称的四片翅片(GF为三片翅片)(2),使进入转鼓的液体很快地达到转鼓的转动角速度。被分离的液体分别从转鼓上端的两个出液口排出,分别进人两个积液盘,再流入槽、罐等容器内。
转鼓及主轴以挠性联接悬挂在主轴皮带轮上,主轴皮带轮与其他部件组成为机头部分。主轴上端支承在主轴皮带轮的缓冲橡皮块上,而转鼓用联接螺母悬于主轴下端。转鼓底盖上的空心轴插入机架上的一滑动轴承组中,滑动轴承组靠手柄锁定在机身上;该滑动轴承装有减震器,可在水平面内浮动。
■ 只要将转鼓与主轴间的联接螺母拧松,即可把转鼓从离心机中卸出。
离心机的外壳、箱门等,是转鼓的保护罩,同时又是机架的一部分,其下部有进料口。物料进入进料口后经可更换的喷咀和底盖的空心轴进入转鼓。
电动机装在机架上部,带动压带轮及平皮带转动而使转鼓旋转。
主要性能和参数;
品牌: | 绍兴市搏盛机械科技有限公司 |
|
型号: | GF105R液-液-固三相分离型 | |
类型: | 高速管式离心机 | |
结构类型: | 圆柱形前开门,落地式,机身为不锈钢制造 | |
布局形式: | 立式 符合GPM规范要求 | |
适用对象: | 油水分离(液液分离) | |
应用领域: | 制药,食品,精细化工等行业 | |
设备材质: | 与物料接触部件均为SUS304或SUS316L不锈钢材料制造 | |
分离因素Fr: | 15050xg | |
电机功率: | 3kw | |
电源; | AC380 50Hz | |
设备重量: | 450 kg | |
转鼓内径: | 105 mm | |
转鼓转速: | 16000 r/min | |
装料限量: | 6升 | |
生产能力: | 200-600升/小时 | |
通水能力; | 1200升/小时 | |
出液口口径; | φ38 (mm) | |
进料口口径; | φ12 (mm) | |
外形尺寸: | 700x450x1600 mm | |
自动化程度 | 连续性进料液液固分离 |
1)GQ-液固分离型;GF-液液固分离型;R-机身为不锈钢;Z-下阻尼无油脂润滑系统。说明:
2)管式离心机实际生产能力视分物料特性和分离要求而定。
3)如需在低温下分离的物料,用户要可选配冷却盘管,冷源需方自配。
4)离心机可选配调速控制系统,(离心机转速可调节)
5)如有物料不能与油脂接触,可选下阻尼无需油脂润滑系统。
转鼓装配:(图5)
1 将转鼓从机器上拆下时,必须先将保护套拧在转鼓上端头部螺纹上。
2 将转鼓置于专用托架上,将托架上的销子对入转鼓下部相应的槽内。
3 下端盖(1)的装拆,需以专用梅花板手旋动,可用木锤敲击。
4 下端盖与转鼓(3)、下端盖与四棱板(2)之间都有在出厂时的旋紧对齐记号。在每次拆装时,都需要进行检查并对齐。(转鼓上记号与端盖上记号之间的错位允许误差为±10mm)
5 拧开调节环螺母,取出调节环。
6 (8)为轻液出口、(7)为重液出口。
7 (6)是重液流量调节环。我们备有一套(十个)不同间隙的调节环。用户可根据需要选用。调节环螺母是左旋螺纹,用专用工具拆装。
分馏比的调节:(图6)
GF105R作为液-液分离的离心机,在生产中最重要的是进行分馏比的调节。
GF105R有两个出液口:上端为轻液出口,下端为重液出口。本公司备有十个不同间隙的调节环,以供用户选用。依靠调节出液口的间隙来控制分馏比。以达到分离两种不同液体的最佳效果。
调节环选择方法如下:
1. 旋开调节螺母。
2. 选择一个调节环。
3. 旋上调节螺母(必须旋紧)
4. 转子就位、运行。
5. 若没有达到要求。可根据轻、重出液口的流量比,重新选取一个调节环。
6. 调节环选取说明:
7. 换取大间隙的调节环——增大重液流量;
8. 换取小间隙的调节环——增大轻液流量。
9. 调节原则:轻液(上)出口混有重液时,调节环换大一档尺寸;反之重液(下)出口混有轻液时,调节环换小一档尺寸。用户可根据产品的生产要求选取合适的调节环。
10. 对于有经验的用户,不必进行以上的选取工作。
※. 料液的进料流量大小也会对分离效果产生影响。建议配合WS-600蠕动泵使用,以使进料流量可调。


